PP&D Full Patent Portfolio
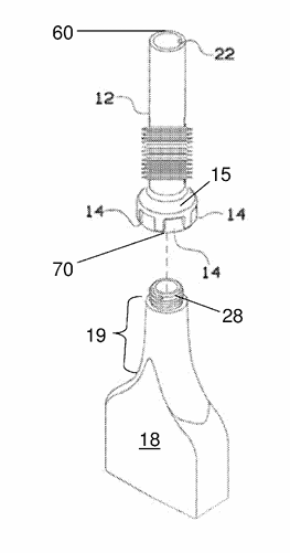
Protected by US Patent: 9889961: US9889961B2 - Fuel additive bottle for use with capless fuel system - Google Patents Fuel additive bottle for use with capless fuel system
Protected by US Patent: 11,104,470: Fuel additive bottle for use with capless diesel fuel system US11104470B2 - Fuel additive bottle for use with capless diesel fuel system - Google Patents
Protected by US Patent: 11,718,438 B1- Fuel Additive Bottle for use with Capless Diesel Fuel System US00000011718438B120230808
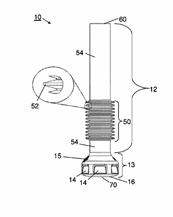
Protected by US Patent 20160115010A1 US20160115010A1 - Circumferentially adjustable device for transferring fuel additives from containers into capless fuel systems - Google Patents CIRCUMFERENTIALLY ADJUSTABLE DEVICE FOR TRANSFERRING FUEL ADDITIVES FROM CONTAINERS INTO CAPLESS FUEL SYSTEMS





